Замена компрессора Bitzer 4EC-6.2Y - полугерметичный поршневой компрессор 4EES-6Y-40S серии Ecoline
Компрессор BITZER 4EES-6Y-40S — это полугерметичный поршневой компрессор, предназначенный для холодильных систем, кондиционирования и тепловых насосов. Он адаптирован для российского рынка и отличается энергоэффективностью и надежностью, преимущества:
- Высокая надежность немецкое качество и долгий срок службы
- Универсальность совместимость с широким range хладагентов
- Низкий уровень шума подходит для чувствительных к шуму применений
- Простота обслуживания развитая сервисная сеть и доступность запчастей

Пределы использования:

Основные характеристики:
- Тип: Полугерметичный поршневой, 4 цилиндра.
- Объемная производительность: 22,72 м³/ч (при 1450 об/мин, 50 Гц).
- Холодопроизводительность: До 11,4–12,1 кВт (R134a, EN 12900).
- Диапазон температур: От 0 до -40°C.
- Питание: 380–420 В, 3 фазы, 50 Гц.
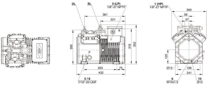
- Вес и габариты: 86 кг, 436×309×352 мм.
- Уровень шума: 68–71,6 дБА.
- Хладагенты: R134a, R404A, R507A, R407C и другие.
- Другие детали: Максимальное давление — 32 бар, объем масла — 2,0 л, класс защиты — IP66.
- Низкий уровень вибрации и шума, износостойкий привод.
- Компактный дизайн с возможностью регулирования производительности.
- Подходит для коммерческих и промышленных систем охлаждения.
Применение: Холодильные установки, морозильные камеры и системы кондиционирования.
Если нужна дополнительная информация или помощь — обращайтесь к нашим менеджерам!